Call Today Toll Free: 1-800-377-3244
Email your requirement: sales@coilws.com

Example Power Supply Circuits
 

Home | About CWS | Cross Reference | Sale / Technical Support | Standard Products | Custom Products | Power Magnetics |Antenna Coil | EMI / RFI Filters | Surface Mount Products | Magnetic Transformers Design Consulting |Quotes | Samples | W2FMI Transmission Line Transformers, BALUN, UNUN | Custom Power Transformers Sizes and Dimensions | Toroidal Power Transformers | Current Sense | Switch Mode Power | Laminated Power Transformer


Example Power Supply Circuits

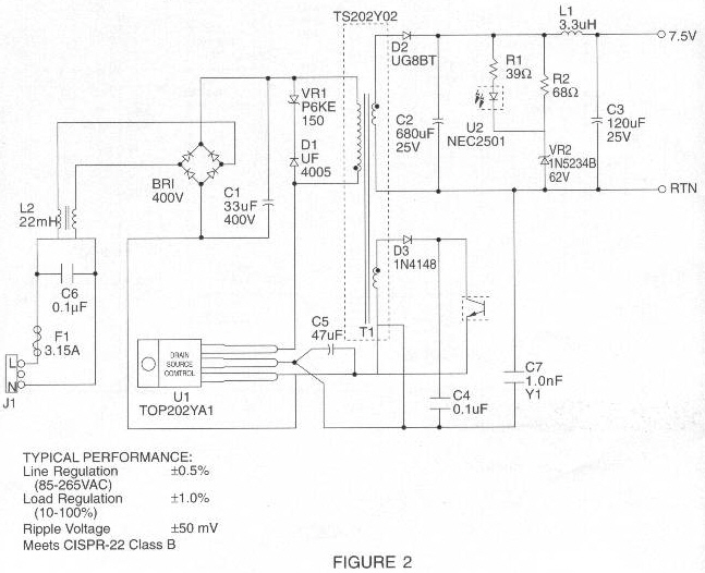
Figure 2 is a universal AC input, 7.5V 15W power supply using the TOP202YAI and demonstrates low cost, optically coupled feedback control.


Schematic

 
 
 
 
 
 

Home | About CWS | Cross Reference | Sale / Technical Support | Standard Products | Custom Products | Power Magnetics |Antenna Coil | EMI / RFI Filters | Surface Mount Products | Magnetic Transformers Design Consulting |Quotes | Samples | W2FMI Transmission Line Transformers, BALUN, UNUN | Custom Power Transformers Sizes and Dimensions | Toroidal Power Transformers | Current Sense | Switch Mode Power | Laminated Power Transformer

 

Need Power Magnetics? Then look no more! CWS ByteMark delivers the finest in surface mount and standard inductors like Power Transformers, Common Mode Chokes, Ceramic Chip Inductors and Wire Wound Chip Inductors. CWS ByteMark can supply all of your filtering needs as well, including EMI Filters, RFI Filters, LC Filter Inductors, and Common Mode Filters. From Transmission Line Transformers to power transformers, CWS ByteMark is the source to call!
 
We have direct crosses to all major manufacturers including Toko, CoilCraft, Coiltronics, Tokin, J.W. Miller, Arnold, Siemens, TDK, Gowanda, Taiyo Yuden and more! Call for details!

Your comments and suggestions are important to us, please feel free to email us at: sales@coilws.com
Call Us Toll Free: 1-800-377-3244
Copyright © 2001, Coilws.com, Inc